HOME
お知らせ
サイト情報
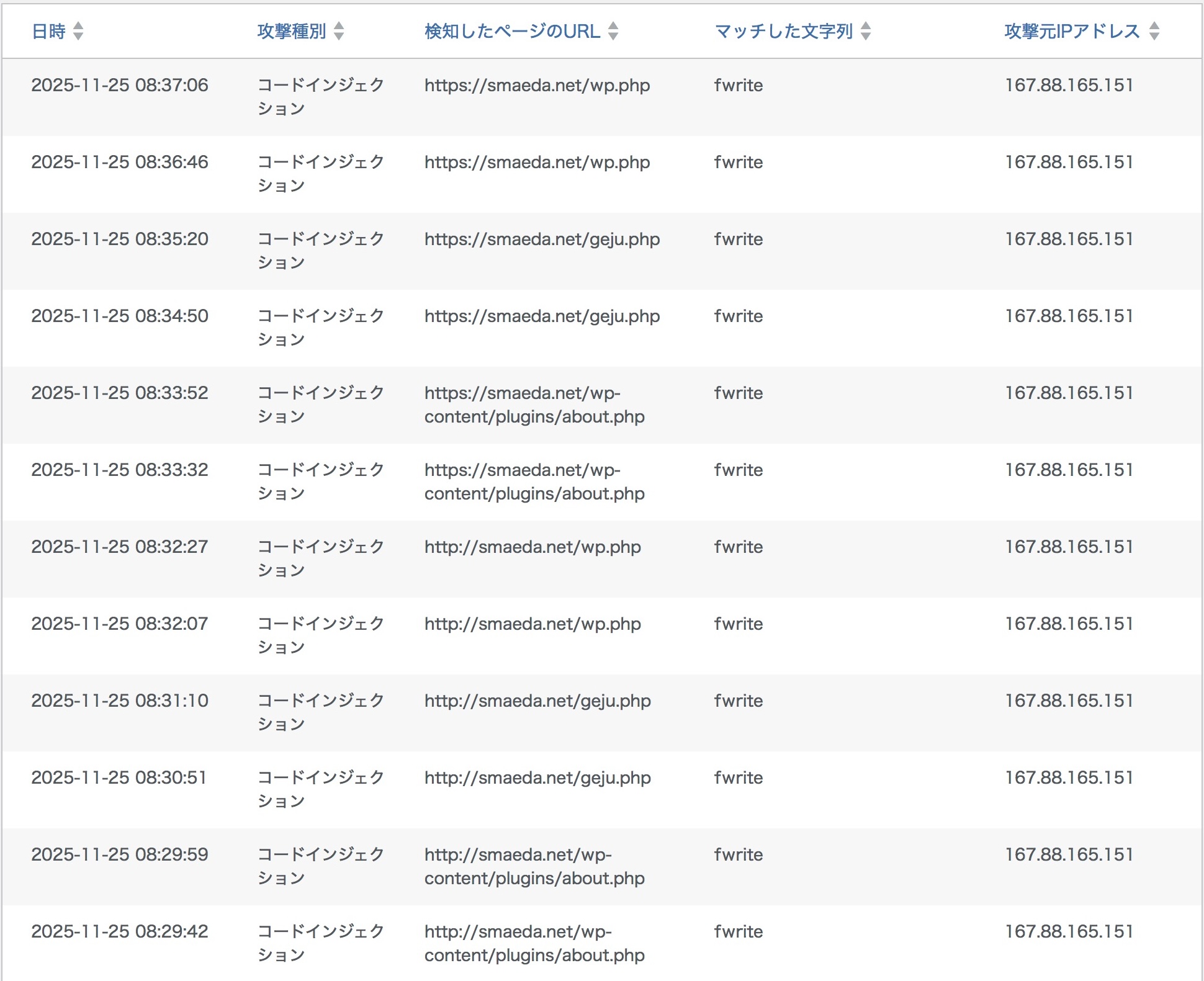
「コードインジェクション」攻撃をブロックしました
「コードインジェクション」攻撃をブロックしました
2025年11月25日 08:29から08:37にかけて12回に渡る「コードインジェクション」攻撃を受け、WAFがブロックしました。IPアドレスはアメリカからの攻撃であるかのように偽装されていました。
前のページへ戻る